近两年,中国和澳大利亚的经济关系在经历波折后逐步企稳向好,双方通过高层互动、机制重启和务实合作,推动经贸往来恢复并拓展新领域。中澳双边货物贸易与2023年同比增长4.1%,中国连续15年保持澳大利亚第一大贸易伙伴地位。此前受影响的澳大利亚大麦、煤炭、棉花、葡萄酒、牛肉等产品逐步恢复对华出口。例如,2024年350家澳大利亚酿酒商重返中国市场,10家牛肉加工企业禁令解除,龙虾输华技术问题也通过沟通解决。南澳州对华出口额在2024年创下44.3亿澳元纪录,同比增长45%。中澳贸易结构从资源型向高附加值领域转型,商标战略将成为企业市场准入与技术竞争的核心工具。
本文利用中知标源商标数据库数据支持,对2024年澳大利亚进入中国的商标申请数量、商品/服务项、申请人、申请人区域和代理机构进行统计并做简易分析,旨在为业内人士提供有价值的参考。
一、商标申请量统计
近五年,澳大利亚进入中国商标申请量数据如表1、图1所示:

表1:商标申请量统计

图1:商标申请量统计
分析:澳大利亚进入中国商标申请量结束下滑趋势,2024年度较2023年度有所回升。
二、商品/服务项统计
2024年度澳大利亚进入中国商标申请商品/服务项如表2、图2所示:

表2:商品/服务项统计

图2:商品/服务项统计
分析:2024年度澳大利亚进入中国商标申请商品/服务项,集中于5类(医药)、3类(日化用品)、35类(广告销售)、33类(酒)、9类(科学仪器)、25类(服装鞋帽)、30类(方便食品)、29类(食品)。消费升级驱动医药、日化用品、高端食品占比提升,传统酒类因维权需求维持高申请量。
三、申请人统计
2024年度澳大利亚进入中国商标申请人前十名如表3所示:

表3:商标申请人前十排名
分析:南社布兰兹有限公司(Southcorp Brands Pty Ltd)是澳大利亚葡萄酒行业的代表企业,以“奔富”品牌为核心,专注于高端葡萄酒的生产与全球市场拓展。2011年在中国申请“奔富”商标时遭遇恶意抢注后,其在中国积极布局商标并扩展产品线,强化品牌在中国市场的法律保护。
澳因国际有限公司是一家以食品贸易为核心、辅以物流服务的跨境企业,通过商标布局与集团资源整合,瞄准中国消费市场潜力。2023年开始在中国进行商标布局,当年申请商标10件,2024年在中国申请商标数量达到123件。其业务模式体现了“品牌先行、渠道协同”的策略,未来可能进一步拓展健康食品或跨境冷链等高增长领域。
邦宁集团有限公司是澳大利亚五金零售领域的龙头企业,在中国申请的商标,主要集中于6类(金属材料)、8类(手工器械)、11类(灯具空调)、19类(建筑材料)、20类(家具)、21类(厨房洁具)等,既保护核心业务,也为潜在业务扩展预留空间。
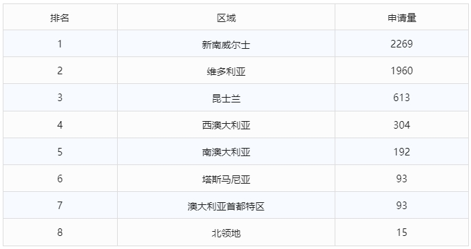
四、申请人区域统计
申请人区域根据商标申请量统计情况见表4所示:

表4:申请人区域分布
分析:澳大利亚申请人区域分布主要集中于新南威尔士、维多利亚,其商标申请量占比为76%,2024年这两个区域商标在3类(日化用品)、5类(医药)占比高;南澳大利亚是澳大利亚的葡萄酒产区,企业密集申请33类(酒)。
五、代理机构统计
进入中国商标申请代理主要途径为通过马德里体系和单一国家注册,直接通过中国代理机构代理前十名统计见表5所示:

表5:代理机构统计
分析:通过马德里体系申请商标数量为1277件,亿思知识产权代理(北京)有限公司代理南社布兰兹有限公司,排名占据首位。前十名代理机构中大部分为传统强所,地域性的代理机构四川汉鹰、义乌奥龙等也表现突出。总的来说,澳大利亚企业进入中国的商标代理业务比较分散,排名靠前的代理机构没有绝对的优势。
六、总结
1. 2024年度澳大利亚进入中国商标整体申请量处于回升态势。
其主要原因有以下三点:一是中澳贸易回暖,RCEP关税减免推动澳大利亚消费品出口复苏;二是品牌保护意识增强,历史商标抢注事件促使澳大利亚企业主动布局;三是新兴领域发力,生物医药、健康食品成为新增长点。
2. 澳大利亚在中国商标申请呈现“消费升级驱动、维权导向强化”特征。
消费升级驱动新兴领域如医药、高端食品占比提升;传统领域继续强化防御性布局与主动维权,以应对市场准入风险。澳大利亚企业在华商标申请主要覆盖以下领域:
食品与饮料:以红酒、乳制品为核心,如奔富(Penfolds)因商标纠纷被迫调整品牌策略,凸显食品行业商标保护的重要性。
清洁能源技术:澳大利亚在清洁能源专利领域的全球领先地位(如储能技术)推动相关企业通过商标注册强化技术品牌识别。
教育与旅游服务:中澳文化交流加深,教育机构及旅游公司通过服务商标巩固市场地位。
消费品与日化:快消品领域竞争激烈,澳企采取商标提前布局,通过多类别注册规避风险。
3.澳大利亚申请商标企业地域性较集中。
在华申请商标企业主要来自澳大利亚的新南威尔士、维多利亚,作为经济中心集中了约76%的申请主体,反映区域产业集聚效应。申请人排名靠前的是各行业头部企业,主要是跨国集团,科技与环保领域创新企业主要是中小企业,通过商标布局抢占新兴赛道。
4.代理服务竞争将加剧
澳大利亚企业通过马德里体系延伸全球保护,结合单一国家注册,构建商标申请网络。委托的中国代理机构比较分散,没有特别突出的代理机构。部分中国代理机构(如深圳平克曼科技)推出“中澳双轨制”服务,结合马德里体系与中国单一注册,缩短审查周期至6-8个月。随着中澳经济进一步发展,并将推动申请量增长,代理机构服务的专业化与数字化将成为关键助力。